Andromeda

Samsung’s Foldable Phone Coming Early Next Year

Samsung looks to boost its handset business with upcoming $1,500+ foldable phone.

Premium

Obsessed with Andromeda (Premium)

Our obsessive relationship with Andromeda is unhealthy. But I'm starting to think Microsoft is really…

The Andromeda Journey Continues

Andromeda is moving into a new phase of life but it's far from being written…

Enthusiasts Petition Microsoft to Make Andromeda

A grassroots effort to convince Microsoft that there is a market for its Andromeda mobile…

Premium

Andromeduh? (Premium)

Microsoft is quietly working on a mobile hardware project called Andromeda that fans feel will…

Report: Microsoft Pushes Andromeda to 2019, May Cancel Project

Microsoft's foldable device is not coming out this year anymore, despite all the unnecessary hype.

Windows 10’s Mail App Tests New Inking Features

Microsoft adds new inkling abilities to the Outlook Mail app in Windows 10 as it…

Andromeda Dreams and Awakenings
Premium

Andromeda Dreams and Awakenings (Premium)

Yes, folks, Andromeda is real. Beyond that, most of what we think we know about…

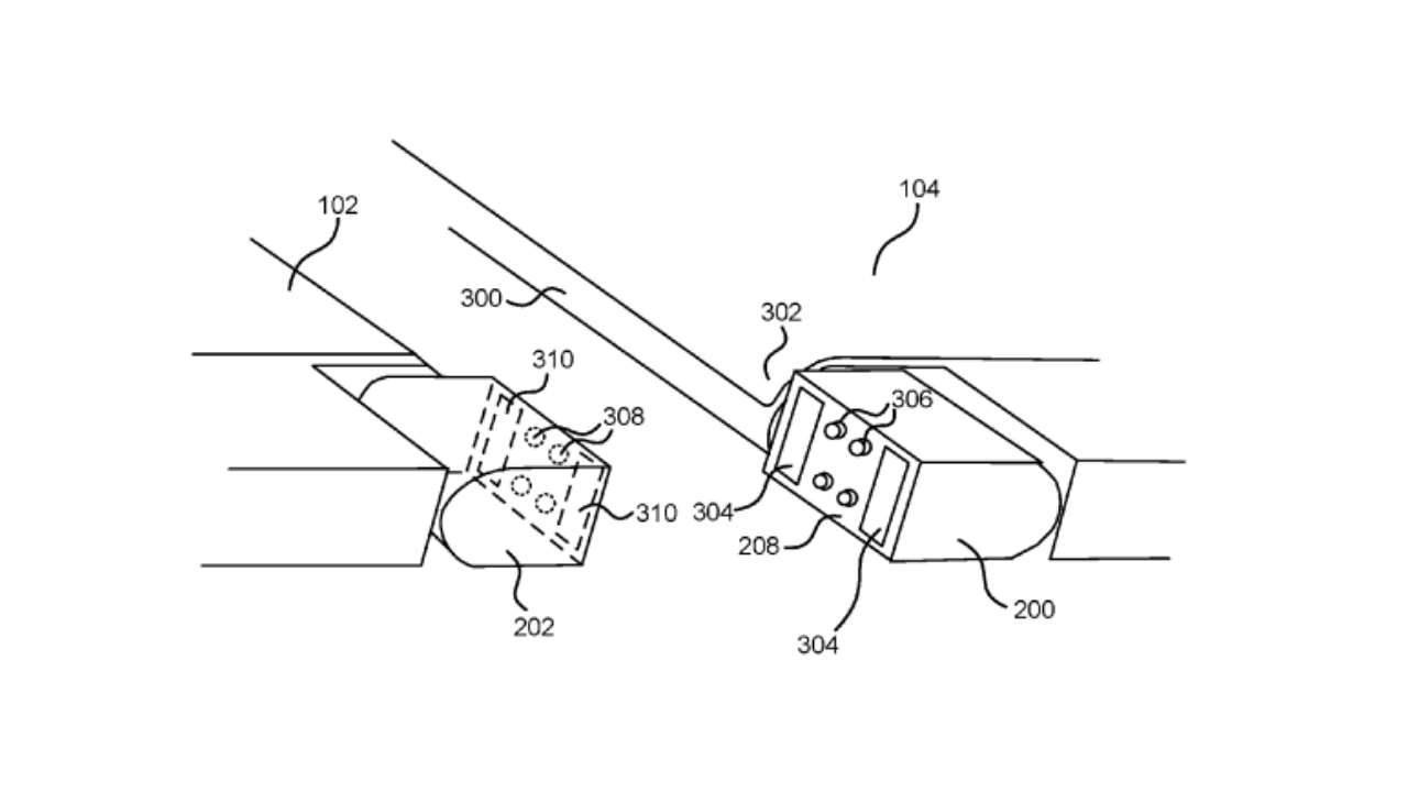
Microsoft’s Andromeda May Be a Modular Mobile Device

More patents of Microsoft's Andromeda hardware emerge, this time showing off a modular hinge design.

The Andromeda Strain
Premium

The Andromeda Strain (Premium)

Microsoft will probably ship Andromeda sometime in 2018. Given recent events, we should reset our…

Fan Concept Brings Microsoft’s ‘Andromeda’ Patents to Life

A concept designer turned Microsoft's Andromeda patents into concepts, and it looks impeccable.

Our Best Look at Microsoft’s Foldable ‘Androdmeda’ Device Yet

Microsoft's latest patent application for its "Andromeda" foldable device shows off its fancy hinge, as…

Microsoft’s Foldable Phone Shows Up Again in New Patents

More patents of Microsoft's rumoured "Andromeda" foldable device shows up, could potentially feature imaging features…

Microsoft’s Andromeda: A Folio of the Future

Microsoft is quietly working on a new piece of hardware that is externally known as…

Thurrott